JAKARTA, POSKOTA.CO.ID - Toyota kian memperlihatkan keseriusannya dalam mengembangkan teknologi elektrifikasi, terutama pada lini kendaraan hybrid yang kini menjadi andalan penjualan di banyak negara.
Setelah sukses memperluas varian hybrid di hampir seluruh modelnya, pabrikan asal Jepang itu mulai mengalihkan perhatian ke aspek yang lebih mendalam: rasa berkendara.
Langkah tersebut tercermin dari sebuah paten baru yang diajukan Toyota pada Juni 2025 dan resmi dipublikasikan oleh United States Patent and Trademark Office (USPTO) pada 1 Januari 2026.
Dokumen paten tersebut mengungkap pendekatan berbeda dalam merancang sistem hybrid, bukan dari sisi mesin atau motor listrik, melainkan dari penataan komponen utama kendaraan.
Baca Juga: Toyota Comeback ke Formula 1, Jadi Sponsor Utama Haas Mulai 2026
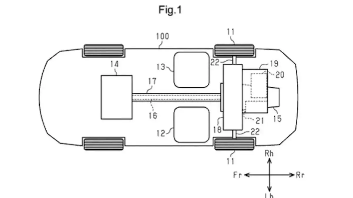
Paten bertajuk Hybrid Electric Vehicle itu menjelaskan konsep pengaturan ulang posisi mesin, baterai, dan tangki bahan bakar.
Tujuannya adalah untuk meningkatkan stabilitas kendaraan, memperkuat keselamatan struktur, sekaligus memperbaiki respons akselerasi, terutama pada mobil dengan penggerak roda belakang.

Dalam konsep tersebut, mesin konvensional tetap ditempatkan di bagian depan kendaraan. Tenaga disalurkan melalui poros penggerak di tengah menuju sistem transaxle belakang, yang di dalamnya terintegrasi motor listrik, transmisi, dan diferensial.
Perubahan paling signifikan justru terjadi pada sektor penyimpanan energi dan bahan bakar. Toyota memindahkan tangki bahan bakar lebih ke tengah kendaraan agar lebih dekat dengan pusat gravitasi. Sementara itu, baterai utama diposisikan di atas transaxle belakang.
Baca Juga: BMW Banting Harga Gila-gilaan, Diskon Tembus Rp600 Jutaan
Penataan ini diyakini mampu menjaga keseimbangan kendaraan saat bobot berubah akibat konsumsi bahan bakar. Dengan distribusi massa yang lebih terkontrol, kestabilan mobil tetap terjaga dalam berbagai kondisi berkendara.
